- Úvod
- >>
- PRÍDRŽNÉ ELEKTROMAGNETY, ELEKTRICKÉ ZÁMKY
- >>
- Elektrické zámky
- >>
- Elektrické zámky ASSA ABLOY
- >>
- FAB - lišty k elektrickým zámkom
- >>
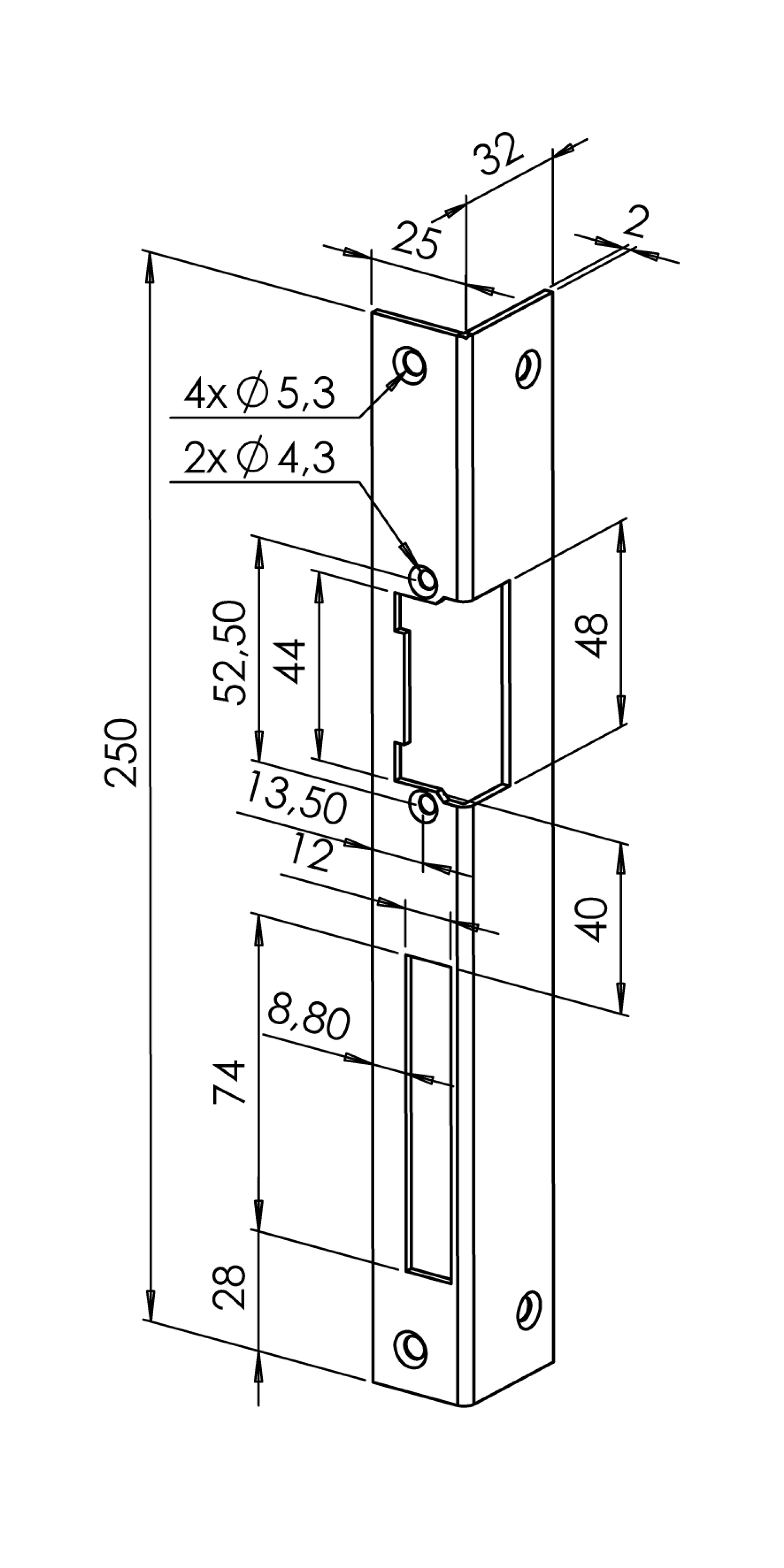
- LL0 - Lišta rohová ľavá pozinkovaná
LL0 - Lišta rohová ľavá pozinkovaná
Lišta rohová ľavá pozinkovaná

